BLIKAČ S MOŽNOSTÍ VLASTNÍHO ZADÁNÍ OBRAZCE
NA MATICOVÉM LED PANELU
Vágner Vlastimil
Přípravek se připojuje na sériový port počítače PC nebo pomocí převodníku USB/COM,tento převodník musí podporovat všechny vstupy/výstupy původního sériového portu PC.Přípravek ovládá maticový displej z led diod tento je složen z 8 * 8 led diod což dává celkem 64 kusů led diod.Přípravek načítá data ze souboru a dle zadání číselné hodnoty rozsvěcí led diody,tyto hodnoty si může každý změnit dle vlastního uvážení a tím měnit obrazce.Přípravek má hlavně posloužit k vlastní inspiraci a ti kdož programují si napíší dle své potřeby vlastní program.
POPIS PŘÍPRAVKU
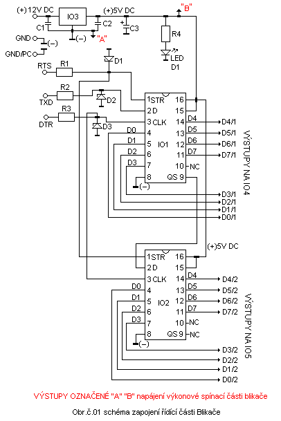
Napájení přípravku je napětím 12VDC ze zdroje který je schopen dát 2A odběr při všech rozsvícených led diod je od 1A do 1.2A.Přípravek je rozdělen na více částí první dvě mohou být navrženy jako celek na jedné DPS nebo také každá samostatně první část je tvořena dvouampérovým stabilizátorem IO3 78S05 ten napájí všechny části sestavy dále signalizací zapnutého stavu led diodou a pak integrovanými obvody IO1 a IO2 CD4094 což jsou sérioparalelní posuvné registry.Řídící výstupy DTR,RTS,TXT z počítače PC jsou upraveny Zenerovými diodami D1,D2,D3 a rezistory R1,R2,R3 na vhodnou napěťovou úroveň vstupů IO1 a IO2 schéma zapojení je na obrázku č.01.Druhou část tvoří výkonová část z integrovaných obvodů IO4 což je osmi násobné invertující tranzistorové pole ULN2803 a IO5 74LS540 což je invertující osmi bitový výkonový budič dále pak tranzistory T1 až T8 BC327-40 schéma zapojení této části je na obrázku č.02.Třetí část je vlastní maticový displej tvořený 8 * 8 = 64 led diodami o průměru 5mm 2V/0.02A a 64Ks rezistorů o hodnotě 200R každá dioda má svůj rezistor schéma zapojení maticového pole je na obrázku č.03.Výstupy z IO1 jsou zapojeny na vstupy integrovaného obvodu IO4,výstupy z IO4 napájejí v maticovém poli katody led diod jejichž vývody jsou označeny D0/1 až D7/1.Výstupy z IO5 ovládají přes rezistory R5 až R12 báze tranzistorů T1 až T8 tyto tranzistory pomocí kolektorů spínají přes rezistory R13 až R64 anody led diod v maticovém poli jež jsou označeny D0/2 až D7/2.
MATICOVÉ LED POLE
V mém případě je vzdálenost led diod od sebe 55mm (středy led diod) v jedné řadě je horizontálně osm led diod,vertikálně je také osm led diod v jedné řadě toto uspořádání vyhovuje pro umístění do okna.Led diody jsou umístěny v čirém plexisklu síly 3mm o celkovém rozměru 48*50cm,přívodní vodiče od katod led diod D0/1 až D7/1 a anod led diod D0/2 až D7/2 jsou s přípravkem propojeny dvěma kabely UTP tyto jsou u přípravku zakončeny na konektoru pro snadnější manipulaci při oživování a hledání závad.Použité led diody jsou zelené,červené a žluté barvy ! rozměry,barvy a výroba maticového led pole jeho rozměry je čistě individuální věc.
POPIS FUNKCE PŘÍPRAVKU
Rozsvěcování led diod v maticovém poli řídí plně počítač PC dle
hodnot uložených v souboru první.dat počítač vždy načte
hodnotu a tato svítí v zadaném čase (vteřinách) toto také zadáváme
v programu.Po tomto čase obrazec zhasne a program sám zadá nějakou hodnotu
v rozsahu do 65535 a tato také svítí stejnou dobu poté počítač zhasne
rozsvícené led diody načte další hodnotu ze souboru a celý děj se opakuje.Pokud
program načte poslední hodnotu v souboru první.dat tak po náhodné kombinaci opět načte první hodnotu
v souboru a celý děj se opakuje dokud neukončíme program stiskem klávesy
ESC.Hodnoty v souboru první.dat
upravujeme pomocí programu soubor.exe
dle tabulky na obrázku č.04.Pokud máme již vytvořený soubor první.dat můžeme hodnoty
změnit,doplnit v jakémkoliv manažéru pod Windows Salamandr apod.,v OS DOS
Volkov,M602 apod.POUZE POSLEDNÍ ZADANÁ HODNOTA V SOUBORU PRVNÍ.DAT MUSÍ
BÝT „0“.
SCHÉMATA ZAPOJENÍ

Seznam součástek : Rezistory : R1,R2,R3…..10K /0.6W , R4….2K2 , / 0.6W
Kondenzátory: C1,C2…100nF (keramika),C3…470uF/16V Elektrolyt
Led dioda D1…2V/0.002A 3mm , Diody D1,D2,D3….4.7V Zenerky
Stabilizátor IO3…78S05 , IO1,IO2…CD4094 posuv.registr + patice
______
Seznam součástek : Rezistory R5 - R12…..1K5 / 0.6W
Kondenzátory : C4…47nF (keramika) ,Tranzistory T1-T8…BC327-40
IO4….ULN2803 , IO5…74LS540 + patice pro IO

Seznam součástek : Led diody 2V/0.02A 5mm zelená,žlutá,Červená počet kusů od každé barvy je individuální.
Rezistory : R13-R64….200R / 0.6W
__________________________________________________________________________
TABULKA PRO VÝPOČET A ZADÁNÍ HODNOT DO
SOUBORU PRVNÍ.DAT
Pro snadné zadávání hodnot do souboru tak aby svítil obrazec co chceme zadat je zde tabulka ! TUTO DOPORUČUJI SI PRO SNADNÉ POCHOPENÍ A ZADÁVÁNÍ HODNOT VYTISKNOUT ! postup zadávání je takovýto pokud chceme aby se rozsvítila led dioda ve čtverci označeném 1 tak sečteme hodnotu bitu D0/1 a hodnotu bitu D0/2 což jsou čísla 128 + 32768 = 32896.Tímto zápisem se rozsvítí led dioda ve sloupci 1 označeném v tabulce č.04.Pokud chceme aby svítili led diody ve sloupcích 1,2,7,8,9,10,15,16 zadáme hodnoty :
128 + 64 +
32768 + 16384 + 512 + 256 = 50112 zadáním této hodnoty nám budou
v maticovém poli svítit v levém a pravém horním rohu čtyři led
diody.Stejně se postupuje i při zadávání jiných hodnot pro jiné světelné
efekty.
V tabulkách č01-03.xls je hodnota bitů od D0 do D7 a od D8 do D15 včetně jejich desítkové a binární(dvojkové hodnoty),současně je zde i tabulka hodnot tak jak SE MUSEJÍ ZADÁVAT PRO SÉRIOPARALELNÍ POSUVNÉ REGISTRY CD4094,to znamená že normálně hodnota bitu č.D0 je 1 a bitu D7 je 128 tak do posuvného registru 4094 pokud chceme aby bit č.D0 byl v logické jedničce MUSÍME ZADAT HOTNOTU 128.Pokud chceme aby byl v logické jedničce bit č.D7 musíme zadat hodnotu 1.
POPIS PROGRAMŮ
Programy jsou odladěny v Turbo Pascalu uloženy jsou v adresáři CD4094 včetně tohoto popisu a tabulek,mají názvy BLIKAC.EXE,LED.EXE,SOUBOR.EXE,TEST.EXE a PREVOD.EXE všechny programy jdou spustit na počítačích kde není ani pevný disk v tomto případě stačí když PC má disketovou mechaniku a disketu si naformátujeme a vytvoříme si na ní systémové soubory a poté přihrajeme soubory které chceme spouštět.Pokud chceme programy spouštět na počítačích kde je OS Windows 95/98 máme dvě možnosti buď při startu PC stiskem klávesy F8 zvolíme pouze DOS nebo je můžeme spouštět z příkazové řádky.Pokud máme na počítači OS Windows 2000,XP,NT,Windows7,Vista můžeme tyto programy spouštět POUZE Z PŘÍKAZOVÉ ŘÁDKY POKUD JSOU WINDOWS ŘÁDNĚ NAINSTALOVÁNY JAKO 32-BITOVÉ.POKUD JSOU UVEDENÉ OS INSTALOVÁNY JAKO 64-BITOVÉ PROGRAMY NEFUNGUJÍ.
POPIS OVLÁDÁNÍ PROGRAMŮ :
SOUBOR.EXE : V tomto programu zadáváme hodnoty pro blikání led diod program po spuštění čeká na zadání hodnoty za x = po jejím zadání stiskneme ENTER a x = se posune na nový řádek po zadání námi poslední hodnoty zadáme za x = 0 a stiskneme ENTER program s ukončí a v adresáři ke je tento program SOUBOR.EXE se vytvoří soubor s názvem PRVNÍ.DAT.
TEST.EXE : Program na oživení přípravku po spuštění programu zadáme hodnotu sériového portu kde je připojený přípravek,tuto hodnotu zadáváme tak že stiskem klávesy s číslicí 1 volíme port COM1,stiskem klávesy s číslicí 2 volíme port COM2 atd.Po volbě portu zadáme hodnotu v maximálním rozsahu do 65535 po jejím zadání stiskneme klávesu ENTER program pak na dalším řádku zobrazuje tuto hodnotu v binární hodnotě a na dalším řádku tak jak je poslána na integrované obvody IO1 a IO2 to znamená že zobrazí : výstup Lo ….. Hi….. hodnota za Lo znamená integrovaný obvod IO1 a hodnota za Hi integrovaný obvod IO2.Nové zadání je možné po stisku klávesy MEZERNÍK a po zadání nové hodnoty opět stiskem ENTER.Program se ukončí stiskem klávesy ESC,po stisku klávesy ESC se program okamžitě ukončí provede přepnutí monitoru do normálního stavu,provede vypnutí výstupů zvoleného sériového portu tzv.že vše uvede do normálu.
BLIKAC.EXE : Program na vlastní blikání dle hodnot v souboru PRVNÍ.DAT po spuštění programu zvolíme port kde je připojený přípravek ten volíme stejně jako u programu TEST.EXE.Po volbě portu zadáme hodnotu ve vteřinách po jaké se budou postupně zobrazovat hodnoty jak načítané ze souboru PRVNÍ.DAT tak náhodně vybrané jak je popsáno výše v tomto popise,po zadaní hodnoty stiskneme ENTER program opět na dalším řádku zobrazí hodnotu v binární hodnotě a na dalším výstupní hodnotu na výstupech IO1 a IO2.Program ukončíme stiskem klávesy ESC,program ještě provede jeden průchod smyčkou v zadaném časovém úseku ukončí se a provede přepnutí monitoru do normálního stavu,provede vypnutí výstupů zvoleného sériového portu tzv.že vše uvede do normálu.UPOZORNĚNÍ POKUD SE V ADRESÁŘI KDE JE PROGRAM BLIKAC.EXE NENACHÁZÍ SOUBOR PRVNÍ.DAT program na toto upozorní a po stisku klávesy ESC se ukončí.
LED.EXE : Program který má shodné ovládání jako BLIKAC.EXE a je také určen pro blikání led diod ze souboru první.dat.Pouze po zadání všech hodnot NEZOBRAZUJE další hodnoty jako binární hodnotu a výstupy Lo a Hi.
PREVOD.EXE
: Program na převod čísel z desítkové soustavy do binární(dvojkové) soustavy,po
spuštění zadáme hodnotu v desítkové soustavě a program zobrazí její
hodnotu v binární(dvojkové)soustavě.Program ukončíme stiskem klávesy ESC.
POSTUP PŘI
OŽIVOVÁNÍ
Po osazení desek zatím neosazujeme IO1,IO2,IO4,IO5 pokud máme blikač vyrobený na více deskách provedeme jejich propojení.Na stabilizátor připojíme napájecí napětí 12V DC a na výstupu změříme výstupní hodnotu zda je 5V to samé napětí změříme na paticích pro integrované obvody na napájecích pinech IO,dále postupně na maticovém poli led diod odzkoušíme že všech 64 led svítí to odzkoušíme tak že všechny výstupy označené D0/1 až D7/1 připojíme na záporný pól (-) napájecího napětí a všechny výstupy označené D0/2 až D7/2 připojíme na kladné napětí (+)5VDC a všechny led musí svítit nedostatky odstraníme.Nyní odpojíme napájecí napětí 12V DC od přípravku do patic osadíme IO2 a IO3 pokud máme přípravek složený z více desek tak tyto vzájemně rozpojíme,propojíme přípravek počítačem PC připojíme napájecí napětí 12V DC na počítači spustíme program TEST.EXE vybereme port kde je připojený přípravek a zatím nezadáme žádnou hodnotu nyní pomocí DMM změříme výstupy IO1 D0/1 až D7/1 a IO2 D0/2 až D7/2 proti GND(-) na žádném výstupu obou IO nesmíme naměřit žádné napětí (+)5V.Nyní zadáme hodnotu 128 a stiskneme ETER nyní musíme na výstupu IO1 D0/1 naměřit (+)5V a na ostatních výstupech nesmíme naměřit žádné napětí,stiskneme klávesu MEZERNÍK a zadáme hodnotu 64 a stiskneme ENTER nyní na výstupu D1/1 musíme naměřit (+)5V a na ostatních výstupech nesmíme naměřit žádné napětí takto postupujeme až k bitu D7/1 pro snadnější zadávání hodnot využijeme tabulku č.03.xls nebo hodnoty z obrázku č.04 na konec zadáme hodnotu 255 a na všech výstupech IO1 musíme naměřit (+)5V po proměření stiskneme klávesu MEZERNÍK.Po tomto odzkoušení funkce IO1 přistoupíme k odzkoušení IO2 zadáme hodnotu 32768 pro snadnější zadávání použijeme tabulku č.03.xls nebo hodnoty z obrázku č.04 stiskneme ENTER a na bitu D0/2 musíme naměřit (+)5V a na ostatních bitech nesmíme naměřit žádné napětí (+)5V po proměření stiskneme MEZERNÍK a zadáme hodnotu 16384 a na bitu D1/2 musíme naměřit (+)5V po odzkoušení všech výstupů IO2 zadáme hodnotu 65280 a stiskneme ENTER nyní musíme naměřit (+)5V na všech výstupech IO2 po tomto odzkoušení stiskneme na klávesnici klávesu ESC.Po této zkoušce odpojíme napájecí napětí 12V a pokud máme přípravek na více deskách tak je propojíme osadíme do patic IO4 a IO5 maticový displej zatím nepřipojujeme do konektoru připojíme napájecí napětí na počítači spustíme znovu program TEST.EXE a rovnou zadáme hodnotu 32896 nyní připojíme měřící hrot GND DMM na výstup D0/1 a měřící hrot DMM (+) na výstup D0/2 a na DMM musíme naměřit (+)5V.Nyní stiskneme klávesu MEZERNÍK a pomocí obrázku č.04 si vypočítáme nějakou další hodnotu tuto zadáme do programu a stiskneme ENTER a provedeme změření pomocí DMM zda tato hodnota je opět na patřičném výstupu IO1 a IO2.Po této zkoušce stiskneme klávesu MEZERNÍK k přípravku připojíme maticový led displej a znovu zadáme jako první hodnotu 32896 a musí se nám rozsvítit led dioda v poli č.1 pak můžeme zadat různé hodnoty a odzkoušet zda se rozsvěcí patřičné led diody podle zadané hodnoty,tímto je oživení ukončeno zbývá již pouze přípravek umístit do krabičky a napsat si vlastní program na blikání.
POSTUP ZADÁVÁNÍ
HODNOT PRO BLIKÁNÍ
Hodnoty které chceme aby s zobrazovali pomocí led diod si připravíme dle obrázku č.04 tak že si je postupně zapisujeme buď na papír nebo přímo do souboru první.dat v tom případě spustíme program soubor.exe a za x = zadáme hodnotu a stiskneme ENTER pak zadáme další hodnotu a opět stiskneme ENTER v případě že máme zadány všechny hodnoty co chceme jako POSLEDNÍ ZADÁME ZA X= 0 a stiskneme ENTER program soubor.exe se ukončí a v adresáři kde je tento soubor umístěn VYTVOŘÍ SÁM SOUBOR S NÁZVEM PRVNÍ.DAT.Tím to je náš vytvořený soubor na blikání uložený a programy LED.EXE,BLIKAC.EXE podle toho který si spustíme z tohoto souboru PRVNÍ.DAT načítají hodnoty podle kterých nám pak led diody v maticovém poli blikají.POZOR SOUBOR S NÁZVEM PRVNÍ.DAT SE MUSÍ NACHÁZET VE STEJNÉM ADRESÁŘI JAKO PROGRAMY LED.EXE BLIKAC.EXE.
Hodně zábavy při vymýšlení obrazců pro maticové led pole
bližší informace: vagnervlastimil@seznam.cz Tel.: +420 607 405 007